Admin API

You may also be interested in the article Introducing the Qubes Admin API.

Goals

The goals of the Admin API system is to provide a way for the user to manage the domains without direct access to dom0.

Foreseen benefits include:

  • Ability to remotely manage the Qubes OS.

  • Possibility to create multi-user system, where different users are able to use different sets of domains, possibly overlapping. This would also require to have separate GUI domain.

The API would be used by:

  • Qubes OS Manager (or any tools that would replace it)

  • CLI tools, when run from another VM (and possibly also from dom0)

  • remote management tools

  • any custom tools

Threat model

TBD

Components

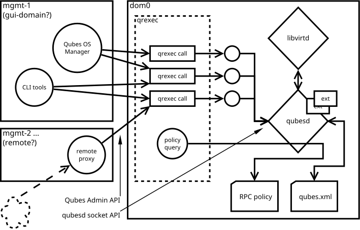
Admin API Architecture

A central entity in the Qubes Admin API system is a qubesd daemon, which holds information about all domains in the system and mediates all actions (like starting and stopping a qube) with libvirtd. The qubesd daemon also manages the qubes.xml file, which stores all persistent state information and dispatches events to extensions. Last but not least, qubesd is responsible for querying the RPC policy for qrexec daemon.

The qubesd daemon may be accessed from other domains through a set of qrexec API calls called the “Admin API”. This API is the intended management interface supported by the Qubes OS. The API is stable. When called, the RPC handler performs basic validation and forwards the request to the qubesd via UNIX domain socket. The socket API is private, unstable, and not yet documented.

The calls

The API should be implemented as a set of qrexec calls. This is to make it easy to set the policy using current mechanism.

call

dest

argument

inside

return

note

admin.vmclass.List

dom0

-

-

<class>\n

admin.vm.List

dom0|<vm>

-

-

<name> class=<class> state=<state>\n

admin.vm.Create.<class>

dom0

template

name=<name> label=<label>

-

admin.vm.CreateInPool.<class>

dom0

template

name=<name> label=<label>
pool=<pool> pool:<volume>=<pool>

-

either use pool= to put all volumes there,
or pool:<volume>= for individual volumes - both forms are not allowed at the same time

admin.vm.CreateDisposable

template

-

-

name

Create new DisposableVM, template is any AppVM with dispvm_allowed set to True, or dom0 to use default defined in default_dispvm property of calling VM; VM created with this call will be automatically removed after its shutdown; the main difference from admin.vm.Create.DispVM is automatic (random) name generation.

admin.vm.Remove

vm

-

-

-

admin.label.List

dom0

-

-

<property>\n

admin.label.Create

dom0

label

0xRRGGBB

-

admin.label.Get

dom0

label

-

0xRRGGBB

admin.label.Index

dom0

label

-

<label-index>

admin.label.Remove

dom0

label

-

-

admin.property.List

dom0

-

-

<property>\n

admin.property.Get

dom0

property

-

default={True|False}
type={str|int|bool|vm|label|list} <value>

Type list is added in R4.1. Values are of type str and each entry is suffixed with newline character.

admin.property.GetAll

dom0

-

-

<property-name> <full-value-as-in-property.Get>\n

Get all the properties in one call. Each property is returned on a separate line and use the same value encoding as property.Get method, with an exception that newlines are encoded as literal \n and literal \ are encoded as \\.

admin.property.GetDefault

dom0

property

-

type={str|int|bool|vm|label|list} <value>

Type list is added in R4.1. Values are of type str and each entry is suffixed with newline character.

admin.property.Help

dom0

property

-

help

admin.property.HelpRst

dom0

property

-

help.rst

admin.property.Reset

dom0

property

-

-

admin.property.Set

dom0

property

value

-

admin.vm.property.List

vm

-

-

<property>\n

admin.vm.property.Get

vm

property

-

default={True|False}
type={str|int|bool|vm|label|list} <value>

Type list is added in R4.1. Each list entry is suffixed with a newline character.

admin.vm.property.GetAll

vm

-

-

<property-name> <full-value-as-in-property.Get>\n

Get all the properties in one call. Each property is returned on a separate line and use the same value encoding as property.Get method, with an exception that newlines are encoded as literal \n and literal \ are encoded as \\.

admin.vm.property.GetDefault

vm

property

-

type={str|int|bool|vm|label|type} <value>

Type list is added in R4.1. Each list entry is suffixed with a newline character

admin.vm.property.Help

vm

property

-

help

admin.vm.property.HelpRst

vm

property

-

help.rst

admin.vm.property.Reset

vm

property

-

-

admin.vm.property.Set

vm

property

value

-

admin.vm.feature.List

vm

-

-

<feature>\n

admin.vm.feature.Get

vm

feature

-

value

admin.vm.feature.CheckWithTemplate

vm

feature

-

value

admin.vm.feature.CheckWithNetvm

vm

feature

-

value

admin.vm.feature.CheckWithAdminVM

vm

feature

-

value

admin.vm.feature.CheckWithTemplateAndAdminVM

vm

feature

-

value

admin.vm.feature.Remove

vm

feature

-

-

admin.vm.feature.Set

vm

feature

value

-

admin.vm.notes.Get

vm

-

-

notes

admin.vm.notes.Set

vm

-

notes

-

admin.vm.tag.List

vm

-

-

<tag>\n

admin.vm.tag.Get

vm

tag

-

0 or 1

retcode?

admin.vm.tag.Remove

vm

tag

-

-

admin.vm.tag.Set

vm

tag

-

-

admin.vm.firewall.Get

vm

-

-

<rule>\n

rules syntax as in firewall interface with addition of expire= and comment= options; comment= (if present) must be the last option

admin.vm.firewall.Set

vm

-

<rule>\n

-

set firewall rules, see admin.vm.firewall.Get for syntax

admin.vm.firewall.Reload

vm

-

-

-

force reload firewall without changing any rule

admin.vm.device.<class>.Attach

vm

device

assignment-serialization

-

device is in form <backend-name>+<device-ident>
optional options given in key=value format, separated with spaces;
options can include persistent=True to “persistently” attach the device (default is temporary)

admin.vm.device.<class>.Detach

vm

device

-

-

device is in form <backend-name>+<device-ident>

admin.vm.device.<class>.Assign

vm

device

assignment-serialization

-

device is in form <backend-name>+<device-ident>
assignment-serialization is specified in the section Device Serialization.

admin.vm.device.<class>.Unassign

vm

device

-

-

device is in form <backend-name>+<device-ident>

admin.vm.device.<class>.Set.required

vm

device

True|False

-

device is in form <backend-name>+<device-ident>

admin.deviceclass.List

dom0

-

-

<deviceclass>\n

admin.vm.device.<class>.Available

vm

device-ident

-

<device-ident> <device-serialization>\n

optional service argument may be used to get info about a single device,
device-serialization is specified in the section Device Serialization.

admin.vm.device.<class>.Assigned

vm

device-ident

-

<device-ident> <assignment-serialization>\n

optional service argument may be used to get info about a single device,
assignment-serialization is specified in the section Device Serialization.

admin.vm.device.<class>.Attached

vm

device-ident

-

<device-ident> <assignment-serialization>\n

optional service argument may be used to get info about a single device,
assignment-serialization is specified in the section Device Serialization.

admin.pool.List

dom0

-

-

<pool>\n

admin.pool.ListDrivers

dom0

-

-

<pool-driver> <property> ...\n

Properties allowed in admin.pool.Add

admin.pool.Info

dom0

pool

-

<property>=<value>\n

admin.pool.Add

dom0

driver

<property>=<value>\n

-

admin.pool.Set.revisions_to_keep

dom0

pool

<value>

-

admin.pool.Remove

dom0

pool

-

-

admin.pool.volume.List

dom0

pool

-

volume id

admin.pool.volume.Info

dom0

pool

vid

<property>=<value>\n

admin.pool.volume.Set.revisions_to_keep

dom0

pool

<vid> <value>

-

admin.pool.volume.ListSnapshots

dom0

pool

vid

<snapshot>\n

admin.pool.volume.Snapshot

dom0

pool

vid

snapshot

admin.pool.volume.Revert

dom0

pool

<vid> <snapshot>

-

admin.pool.volume.Resize

dom0

pool

<vid> <size_in_bytes>

-

admin.pool.volume.Import

dom0

pool

<vid>\n<raw volume data>

-

admin.pool.volume.CloneFrom

dom0

pool

vid

token, to be used in admin.pool.volume.CloneTo

obtain a token to copy volume vid in pool;
the token is one time use only, it’s invalidated by admin.pool.volume.CloneTo, even if the operation fails

admin.pool.volume.CloneTo

dom0

pool

<vid> <token>

-

copy volume pointed by a token to volume vid in pool

admin.vm.volume.List

vm

-

-

<volume>\n

<volume> is per-VM volume name (root, private, etc), <vid> is pool-unique volume id

admin.vm.volume.Info

vm

volume

-

<property>=<value>\n

admin.vm.volume.Set.revisions_to_keep

vm

volume

value

-

admin.vm.volume.ListSnapshots

vm

volume

-

snapshot

duplicate of admin.pool.volume., but with other call params

admin.vm.volume.Snapshot

vm

volume

-

snapshot

id.

admin.vm.volume.Revert

vm

volume

snapshot

-

id.

admin.vm.volume.Resize

vm

volume

size_in_bytes

-

id.

admin.vm.volume.Import

vm

volume

raw volume data

-

id.

admin.vm.volume.ImportWithSize

vm

volume

<size_in_bytes>\n<raw volume data>

-

new version of admin.vm.volume.Import, allows new volume to be different size

admin.vm.volume.Clear

vm

volume

-

-

clear contents of volume

admin.vm.volume.CloneFrom

vm

volume

-

token, to be used in admin.vm.volume.CloneTo

obtain a token to copy volume of vm;
the token is one time use only, it’s invalidated by admin.vm.volume.CloneTo, even if the operation fails

admin.vm.volume.CloneTo

vm

volume

token, obtained with admin.vm.volume.CloneFrom

-

copy volume pointed by a token to volume of vm

admin.vm.CurrentState

vm

-

-

<state-property>=<value>\n

state properties: power_state, mem, mem_static_max, cputime

admin.vm.Start

vm

-

-

-

admin.vm.Shutdown

vm

-

-

-

admin.vm.Pause

vm

-

-

-

admin.vm.Unpause

vm

-

-

-

admin.vm.Kill

vm

-

-

-

admin.backup.Execute

dom0

config id

-

-

config in /etc/qubes/backup/<id>.conf, only one backup operation of given config id can be running at once

admin.backup.Info

dom0

config id

-

backup info

info what would be included in the backup

admin.backup.Cancel

dom0

config id

-

-

cancel running backup operation

admin.Events

dom0|vm

-

-

events

admin.vm.Stats

dom0|vm

-

-

vm-stats events, see below

emit VM statistics (CPU, memory usage) in form of events

Volume properties:

  • pool

  • vid

  • size

  • usage

  • rw

  • source

  • save_on_stop

  • snap_on_start

  • revisions_to_keep

  • is_outdated

Method admin.vm.Stats returns vm-stats events every stats_interval seconds, for every running VM. Parameters of vm-stats events:

  • memory_kb - memory usage in kB

  • cpu_time - absolute CPU time (in milliseconds) spent by the VM since its startup, normalized for one CPU

  • cpu_usage - CPU usage in percents

Returned messages

First byte of a message is a message type. This is 8 bit non-zero integer. Values start at 0x30 (48, '0', zero digit in ASCII) for readability in hexdump. Next byte must be 0x00 (a separator).

This alternatively can be thought of as zero-terminated string containing single ASCII digit.

OK (0)

30 00 <content>

Server will close the connection after delivering single message.

EVENT (1)

31 00 <subject> 00 <event> 00 ( <key> 00 <value> 00 )* 00

Events are returned as stream of messages in selected API calls. Normally server will not close the connection.

A method yielding events will not ever return a OK or EXCEPTION message.

When calling such method, it will produce an artificial event connection-established just after connection, to help avoiding race conditions during event handler registration.

EXCEPTION (2)

32 00 <type> 00 ( <traceback> )? 00 <format string> 00 ( <field> 00 )*

Server will close the connection.

Traceback may be empty, can be enabled server-side as part of debug mode. Delimiting zero-byte is always present.

Fields should be formatted to %-style format string, possibly after client-side translation, to form final message to be displayed to the user. Server does not by itself support translation.

Tags

The tags provided can be used to write custom policies. They are not used in a default Qubes OS installation. However, they are created anyway.

  • created-by-<vm> — Created in an extension to qubesd at the moment of creation of the VM. Cannot be changed via API, which is also enforced by this extension.

  • managed-by-<vm> — Can be used for the same purpose, but it is not created automatically, nor is it forbidden to set or reset this tag.

Backup profile

Backup-related calls do not allow (yet) to specify what should be included in the backup. This needs to be configured separately in dom0, with a backup profile, stored in /etc/qubes/backup/<profile>.conf. The file use yaml syntax and have following settings:

  • include - list of VMs to include, can also contains tags using $tag:some-tag syntax or all VMs of given type using $type:AppVM, known from qrexec policy

  • exclude - list of VMs to exclude, after evaluating include setting

  • destination_vm - VM to which the backup should be send

  • destination_path - path to which backup should be written in destination_vm. This setting is given to qubes.Backup service and technically it’s up to it how to interpret it. In current implementation it is interpreted as a directory where a new file should be written (with a name based on the current timestamp), or a command where the backup should be piped to

  • compression - should the backup be compressed (default: True)? The value can be either False or True for default compression, or a compression command (needs to accept -d argument for decompression)

  • passphrase_text - passphrase used to encrypt and integrity protect the backup

  • passphrase_vm - VM which should be asked what backup passphrase should be used. The asking is performed using qubes.BackupPassphrase+profile_name service, which is expected to output chosen passphrase to its stdout. Empty output cancel the backup operation. This service can be used either to ask the user interactively, or to have some automated passphrase handling (for example: generate randomly, then encrypt with a public key and send somewhere)

Not all settings needs to be set.

Example backup profile:

# Backup only selected VMs
include:
  - work
  - personal
  - vault
  - banking

# Store the backup on external disk
destination_vm: sys-usb
destination_path: /media/my-backup-disk

# Use static passphrase
passphrase_text: "My$Very!@Strong23Passphrase"

And slightly more advanced one:

# Include all VMs with a few exceptions
include:
  - $type:AppVM
  - $type:TemplateVM
  - $type:StandaloneVM
exclude:
  - untrusted
  - $tag:do-not-backup

# parallel gzip for faster backup
compression: pigz

# ask 'vault' VM for the backup passphrase
passphrase_vm: vault

# send the (encrypted) backup directly to remote server
destination_vm: sys-net
destination_path: ncftpput -u my-ftp-username -p my-ftp-pass -c my-ftp-server /directory/for/backups

Device Serialization

Both device and assignment serialization is ASCII-encoded and contains space-separated key-value pairs. The format includes an = between the key and value, and the value is always enclosed in single quotes ('). Values may contain spaces or even single quotes, which are escaped with a backslash. If a value is not set (None), it is represented as 'unknown'. For boolean values, True is represented as 'yes', and False as 'no'. The order of key-value pairs is irrelevant. Keys starting with _ are considered extra properties and are saved in data or options for device or assignment respectively.

Information about the serialization format of specific properties can be found below.

Format:

<ident> <property_1>='<value_1>' <property_2>='<value_2>' <property_3>='<value_3>'...

Detailed serialization format for a device:

  • ident='<ident>'

  • backend_domain='<backend_domain.name>'

  • devclass='<devclass>'

  • vendor='<vendor>'

  • product='<product>'

  • manufacturer='<manufacturer>'

  • name='<name>'

  • serial='<serial>'

  • self_identity='<self_identity>'

  • interfaces='<interface1><interface2>...' Each device interface is represented with a 7-character length. Each device has at least one interface. Since the length of the interface representation is known, they are serialized as a single string with each interface representation concatenated one after another. The order is irrelevant.

  • parent_ident='<parent.ident>' parent_devclass='<parent.devclass>'

  • attachment='<attachment.name>'

  • _<key1>='<value1>' _<key2>='<value2>' ... (extra parameters)

Detailed serialization format for an assignment:

  • ident='<ident>'

  • backend_domain='<backend_domain.name>'

  • devclass='<devclass>'

  • frontend_domain='<frontend_domain.name>'

  • required='<yes/no>' (default ‘no’)

  • attach_automatically='<yes/no>' (default ‘no’)

  • _<key1>='<str(value1)>' _<key2>='<str(value2)>' ... (options)

Example device serialization:

1-1.1.1 manufacturer='unknown' self_identity='0000:0000::?******' serial='unknown' ident='1-1.1.1' product='Qubes' vendor='ITL' name='Some untrusted garbage' devclass='bus' backend_domain='vm' interfaces=' ******u03**01' _additional_info='' _date='06.12.23' parent_ident='1-1.1' parent_devclass='None'

General notes

  • there is no provision for qvm-run, but there already exists qubes.VMShell call

  • generally actions *.List return a list of objects and have “object identifier” as first word in a row. Such action can be also called with “object identifier” in argument to get only a single entry (in the same format).

  • closing qrexec connection normally does not interrupt running operation; this is important to avoid leaving the system in inconsistent state

  • actual operation starts only after caller send all the parameters (including a payload), signaled by sending EOF mark; there is no support for interactive protocols, to keep the protocol reasonable simple

Policy admin API

There is also an API to view and update Qubes RPC policy files in dom0. All of the following calls have dom0 as destination:

call

argument

inside

return

policy.List policy.include.List

-

-

<name1> \n<name2>\n...

policy.Get policy.include.Get

name

-

<token> \n<content>

policy.Replace policy.include.Replace

name

<token>\n<content>

-

policy.Remove policy.include.Remove

name

<token>

-

The policy.* calls refer to main policy files (/etc/qubes/policy.d/), and the policy.include.* calls refer to the include directory (/etc/qubes/policy.d/include/). The .policy extension for files in the main directory is always omitted.

The responses do not follow admin API protocol, but signal error using an exit code and a message on stdout.

The changes are validated before saving, so that the policy cannot end up in an invalid state (e.g. syntax error, missing include file).

In addition, there is a mechanism to prevent concurrent modifications of the policy files:

  • A *.Get call returns a file along with a token (currently implemented as a hash of the file).

  • When calling Replace or Remove, you need to include the current token as first line. If the token does not match, the modification will fail.

  • When adding a new file using Replace, pass new as token. This will ensure that the file does not exist before adding.

  • To skip the check, pass any as token.

TODO

  • notifications

    • how to constrain the events?

    • how to pass the parameters? maybe XML, since this is trusted anyway and parser may be complicated

  • how to constrain the possible values for admin.vm.property.Set etc, like “you can change netvm, but you have to pick from this set”; this currently can be done by writing an extension

  • a call for executing *.desktop file from /usr/share/applications, for use with appmenus without giving access to qubes.VMShell; currently this can be done by writing custom qrexec calls

  • maybe some generator for .desktop for appmenus, which would wrap calls in qrexec-client-vm